Макулатураны қайта өңдеу бойынша шағын желі

Бұл жоба студенттік стартап болып табылады.

Электрондық технологиялардың дамуына қарамастан, қағазды тұтыну үнемі өсіп келеді. Макулатураны бөлек жинау әлі де проблема болып отыр, ал оны қайта өңдеу жиналған қайталама шикізаттың үлкен көлемін талап етеді. Осыған байланысты жиналған шикізаттың аз мөлшерін оның пайда болу орнында өңдеу технологиясын жасау қажет. Бұл материалды саналы түрде тұтыну, үнемдеу және қайта өңдеу орнықты даму қағидаттарын іске асыруға және қоршаған орта ресурстарын сақтауға көмектеседі.

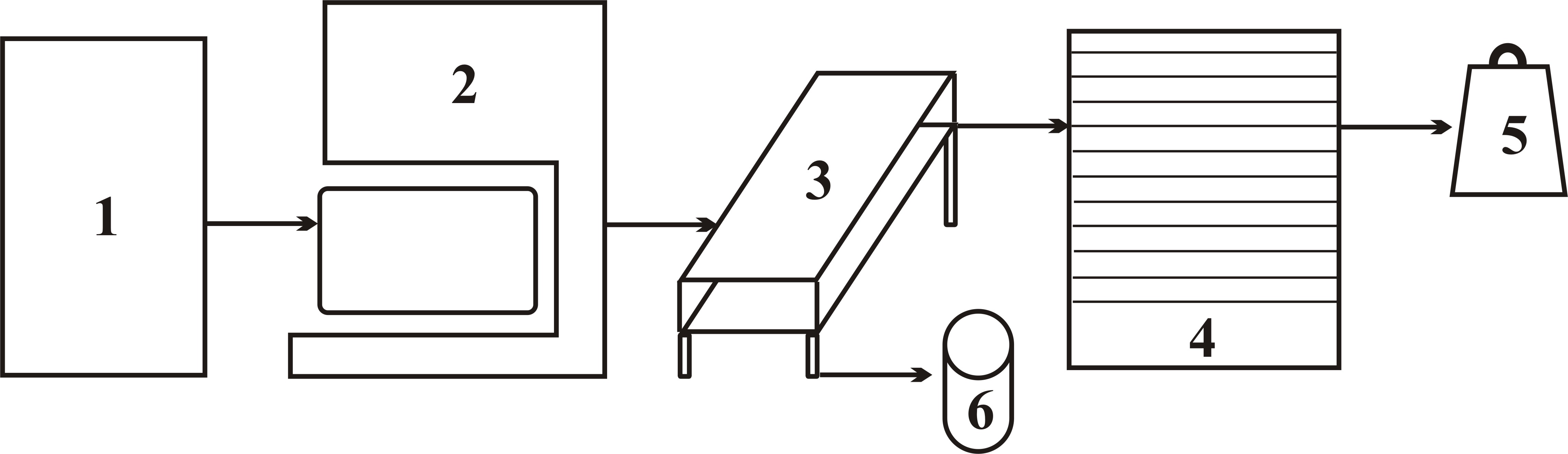
ШҚТУ-да қалдықтардың шағын көлемі үшін олардың пайда болу орнында макулатураны қайта өңдеу бойынша шағын желі әзірленді.

Жасалған ұсынымдар мен схемалар басқа жоғары оқу орындарында, кәсіпорындарда және бүкіл әлемде қолданылуы мүмкін.

ШҚТУ осы құнды ресурсты үнемдеуге қамқорлық жасайды. Университетте қалдықтарды бөлек жинау бұрыннан енгізілген. Бірақ университет бұрын жиналған макулатураны өңдеу үшін үшінші тарапқа - "Чистое небо"фирмасына тапсырды. Шағын желіні орнатқаннан кейін қайта өңдеу бірден университет аумағында жүзеге асырылады. Бұл сонымен қатар ұйымның көміртегі ізін азайтуға мүмкіндік береді, өйткені қазір қалдықтарды тасымалдау қажет емес.

Соңғы өзгерістер күні:
21.06.2022